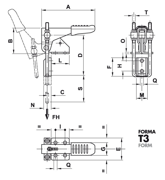
| Codice | Codice INOX | A | B | C | D | E | F | G | H | I | L | M | N | O | Q | S | T | Fh (daN) | gr |
| 2S.T160/T3 | 2S.T160/T3X | 68 | 36 | 5 | 48÷58 | 35 | 25,5 | 22 | 14,3 | 13 | 26 | 14 | 10 | 2 | 4,3 | 34,5 | M4 | 160 | 100 |
| 2S.T320/T3 | 2S.T320/T3X | 106 | 52,5 | 8 | 75÷95 | 44 | 37 | 25,5 | 20,5 | 19 | 36 | 22 | 15 | 3 | 6,5 | 53 | M6 | 320 | 320 |
| 2S.T700/T3 | 2S.T700/T3X | 147 | 66 | 13 | 98÷122 | 54 | 48,5 | 36,5 | 27 | 32 | 52 | 26 | 23 | 3,5 | 8,5 | 64 | M8 | 750 | 680 |
https://www.getechsrl.com/it/prodotti/hyrax/attrezzi-di-serraggio/t3-attrezzi-di-serraggio-a-tirante-doppio.html#sigProId21711cc045
Hyrax
Attrezzi di Serraggio
T3
Attrezzi di Serraggio a Tirante Doppio
Gli attrezzi in acciaio INOX AISI 304 sono indicati con una 'X' nel codice (es. 2S.T160/T3X)
Caratteristiche ed applicazioni
Gli attrezzi di serraggio della serie a tirante sono per lo più utilizzati nella chiusura di coperchi e contenitori. Uno dei vantaggi degli attrezzi di serraggio di questa serie è il profilo compatto dell'attrezzo, che è essenziale per applicazioni in spazi ridotti.
Durante il montaggio viene interposto uno speciale grasso fra le superfici a contatto.
Campi di applicazione: lavorazione del legno, stampaggio ad iniezione di materie plastiche, lavorazione CNC, industria automobilistica, ingegneria.
Materiale: Acciaio zincato o acciaio Inox AISI 304
Perni rivettati e tirante: Acciaio zincato o acciaio Inox AISI 304
Perno oscillante: Acciaio zincato o acciaio Inox AISI 303
Impugnature: Poliuretano di colore rosso - resistente a olii, grassi ed altri agenti chimici.
Esecuzione: L'attrezzo viene fornito completo di tirante doppio con dadi e squadra di aggancio.
