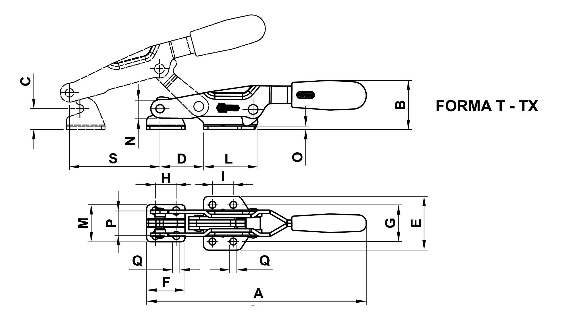
| Codice | Codice INOX | A | B | C | D | E | F | G | H | I | L | M | N | O | P | Q | S | Fh (daN) | gr |
| 2S.T33/T | 2S.T33/TX | 200 | 45 | 19 | 40 | 49 | 35 | 33,5 | 19 | 19 | 50 | 34 | 17 | 3 | 22,3 | 6,5 | 83 | 500 | 422 |
| 2S.T43/T | 2S.T43/TX | 248 | 56 | 28 | 51 | 63 | 50 | 45 | 31 | 32 | 61 | 41 | 20 | 4 | 25,4 | 8,5 | 110 | 1000 | 811 |
| 2S.T33/TF | 2S.T33/TFX | 197 | 45 | 19 | 40 | 49 | - | 33,5 | - | 19 | 50 | - | 17 | 3 | - | 6,5 | 83 | 500 | 394 |
| 2S.T43/TF | 2S.T43/TFX | 242 | 56 | 28 | 51 | 63 | - | 45 | - | 32 | 61 | - | 20 | 4 | - | 8,5 | 90 | 1000 | 696 |
https://www.getechsrl.com/it/prodotti/hyrax/attrezzi-di-serraggio/t-tf-attrezzi-di-serraggio-a-tirante.html#sigProIddda0d2e3ca
Hyrax
Attrezzi di Serraggio
T - TF
Attrezzi di Serraggio a Tirante
Gli attrezzi in acciaio INOX AISI 304 sono indicati con una 'X' nel codice (es. 2S.T33/TX)
Caratteristiche ed applicazioni
Gli attrezzi di serraggio della serie a tirante sono per lo più utilizzati nella chiusura di coperchi e contenitori. Uno dei vantaggi degli attrezzi di serraggio di questa serie è il profilo compatto dell'attrezzo, che è essenziale per applicazioni in spazi ridotti. In posizione chiusa la leva di comando è perpendicolare alla base d'appoggio. E' possibile regolare la posizione del perno filettato entro un certo intervallo per incontrare le esigenze di utilizzo (vedi disegno).
Durante il montaggio viene interposto uno speciale grasso fra le superfici a contatto.
Campi di applicazione: lavorazione del legno, stampaggio ad iniezione di materie plastiche, lavorazione CNC, industria automobilistica, ingegneria.
Materiale: Lamiera zincata o acciaio Inox AISI 304
Perni rivettati e tirante: Lamiera zincata o acciaio Inox AISI 304
Impugnaure: Poliuretano di colore rosso - resistente a olii, grassi ed altri agenti chimici.
Esecuzione:
Forma T e forma TX forniti con perno per la trazione e squadra di aggancio .
Forma TF e forma TFX è possibile scegliere tra tre tirante opzionali (da ordinare separatamente): Tirante a Golfare "TG”,Tirante a T "TT",Tirante a Uncino "U".
